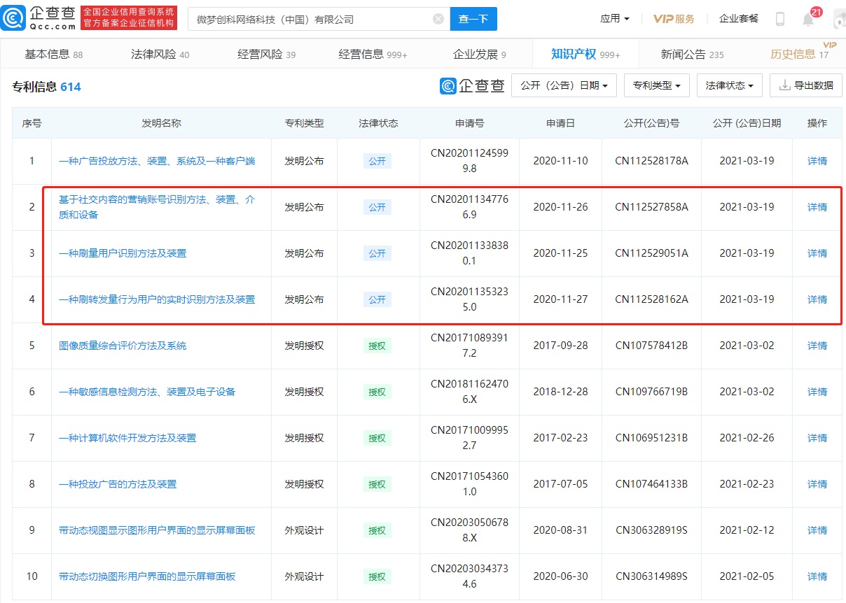
3月22日消息 企查查 App 显示,3 月 19 日,微梦创科网络科技(中国)有限公司公开多项 “刷量用户识别”相关专利,名称及公开号分别为 “一种刷转发量行为用户的实时识别方法及装置”,公开号 CN112528162A;“基于社交内容的营销账号识别方法、装置、介质和设备”,公开号 CN112527858A;“一种刷量用户识别方法及装置”,公开号 CN112529051A。企查查股权穿透显示,该公司由微博网络(香港)有限公司全资持股。



根据专利信息显示,识别转发量的专利可以结合目标用户与被转发用户的信息,联合比较,使用矩阵运算进行聚类,以此判断刷量转发的营销账号。

针对营销账号,该专利首先获取文本和图片两种社交数据,根据所述文本数据得到文本词向量,从图片中识别出指定种类的营销物体,然后对识别出来的营销物体进行向量化处理。之后,将向量数据输入此前经过训练的分类模型,以此判断该账号是否为营销账号。
,此前有开发者制作了 “星援”App、非法进行微博刷量,并且给用户带来安全隐患。该 App 的开发者蔡坤苗因相关行为构成提供侵入计算机信息系统程序罪,一审被判有期徒刑五年。
咨询热线:
86-592-5151555
地址: 厦门市集美区软件园三期A3栋504室
QQ:1039899831
固话:86-592-5151555
手机:18020730588(赖先生)
官网:www.tiptop.cn
Copyright © 2000-2021 www.tiptop.cn
游戏作品版权归原作者享有,如无意之中侵犯了您的版权,请您按照《版权保护投诉指引》来信告知,本网站将应您的要求删除。